Produkty, na ktoré sa chcete opýtať, môžete vložiť kliknutím na tlačidlo Vložiť do dopytu na ľavej strane stránky.
Chcete sa s nami radšej porozprávať priamo?
Zavolajte nám na: +420 541 633 670
Produkty, na ktoré sa chcete opýtať, môžete vložiť kliknutím na tlačidlo Vložiť do dopytu na ľavej strane stránky.
Chcete sa s nami radšej porozprávať priamo?
Zavolajte nám na: +420 541 633 670

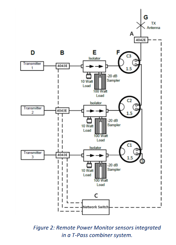
Monitorovanie RF signálu so senzorom 4042E:
Monitorovanie RF signálu so senzorom 4043E:
118 MHz až 144 MHz
144 MHz až 244 MHz
380 MHz až 450 MHz
450 MHz až 512 MHz
762 MHz až 806 MHz
806 MHz až 869 MHz
896 MHz až 940 MHz
225 MHz až 400 MHz


Vlastnosti a parametre pre oba modely - 4042E a 4043E:
TR instruments spol. s r.o.
Are you looking for a sales partner?
More info